Improvement in the Mechanical Properties of Different Cooling Medium-treated 56Fe25Ni16Cr Austenitic Stainless Steel for Advanced Nuclear Reactor Applications
Integrating Peak Ground Acceleration as a Damage Factor in Risk-Based Premium Rate Assessment using K-medoids Bayesian networks
Physico - Mechanical Properties Of Improved Soil By Pvd Incorporating Surcharge And Vacuum Preloading: A Case Study In Long Phu, Soc Trang, Vietnam
Distributed Model Predictive Control for Voltage Coordination of Distributed Photovoltaic Distribution Networks with High Permeability
Nano-roughness Modification of 3D printed Poly (lactic Acid) Polymer via Alkaline Wet Etching Towards Biomedical Applications
Synergistic Effects of Cellulose Nanofibers and Coinage Metal Nanoparticles (Ag, CuO, and ZnO) in Active Packaging Biocomposites
Enhancing Energy Efficiency in Cooling Systems through Advanced Machine Learning and Meta-Heuristic Algorithms for Precise Cooling Load Prediction
Research on Near Ground Precision Application Navigation Technology of Plant Protection UAV Based on SRCKF-SLAM
A Robust Observer-Based Control Structure for Permanent Magnet Synchronous Motor Drives Based on MPC And Sliding Mode Observation
Quantitative evaluation of the complementarity and capacity ratio of large-scale wind power and photovoltaic
Calculating and simulating the erosion and deposition rate with sea level scenarios in the coastal area of Binh Thuan, Vietnam
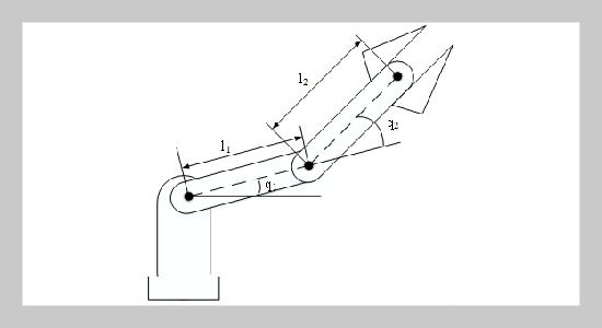
Extended state observer based adaptive iterative trajectory tracking control of a two-jointed robotic arm
Multi-modal sentiment classification based on graph neural network and multi-head cross-attention mechanism for education emotion analysis
ZSM-5 Supported Mn, Mn-Ag, Mn-Cu for AmbientTemperature Isopropyl Alcohol Adsorption and OzoneAssisted Regeneration Process