Steer Guidance Of Autonomous Agricultural Robot Based On Pure Pursuit Algorithm And LiDAR Based Vector Field Histogram
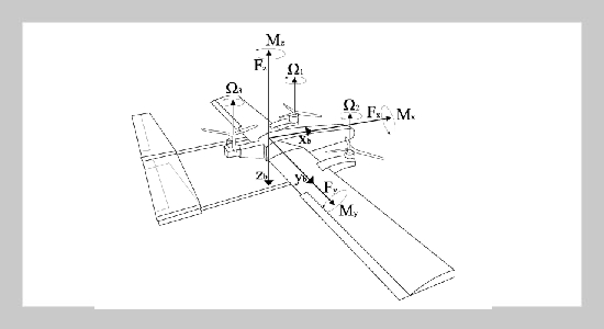
Wind Disturbance Rejection Control Of Tilt Rotor Aircraft In Transition Phase Based On Improved Active Disturbance Rejection Control
Comprehensive Characterization Of Novel Cellulose Fiber From Paederia Foetida and Its Modification For Sustainable Composites Application
Integrated Computational Materials Engineering With Reliability Of Green Concrete (GC) For Environmental Safety Buildings
Novel Categories Of Analytical Solutions To The Calogero-Bogoyavlenskii-Schiff Equation Through An Efficient Technique
Use Of RBF Model In GOA And MPA Optimizers To Estimate The Compressive Strength Of Concrete In The HPC Model
Optimization Research And Design Of New Double Wind-break Walls Along Lanzhou-Urumqi High-speed Railway In Gale Areas
SMS Spam Classification–Simple Deep Learning Models With Higher Accuracy Using BUNOW And GloVe Word Embedding